主页(http://www.175shouji.com):传苹果2020年推出“折叠屏”手机,6大看点不容错过
【猎云网】4月2日报道 (编译:Anna)
多年来,如三星和联想这样的智能手机制造商一直在开发配备柔性显示屏幕的手机。有些科技爱好者推测,这将会为智能手机提供更多的屏幕空间和多任务处理功能。苹果在过去几年申请的专利表明,它可能会加入这场竞争。
我们对这些可折叠手机知之甚少,因为它们如今还处于早期阶段。而且关于即将推出的新产品,苹果做的保密工作是出了名的好。然而,各种传闻、申请的专利和当前可用的技术,也许会为苹果在不久的将来发布的新产品提供一些线索。以下就是我们收集到的有关苹果折叠手机的信息:
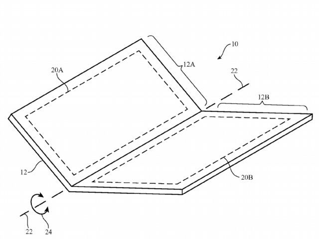
1. 苹果专利展示了可折叠的iPhone概念图,它配备了可弯曲的单个屏幕,而不是通过铰链连接的两个不同的屏幕。

2016年,苹果的一项专利展示了一款可折叠的iPhone概念图,它的单个屏幕可以弯曲,与三星的可折叠手机Galaxy X的传闻相似。
此外,作为第一款可折叠的智能手机,中兴的Axon M拥有两个不同的屏幕,可以合在一起构成一个更大的屏幕。
2. 可折叠的iPhone可能拥有两种不同的弯曲模式。

一种模式是让用户像打开书本一样打开和关闭手机,而另一种模式是固定使用,打开的方式与笔记本的使用方法相同。在后一种模式中,手机的下半部分可以支撑起上半部分,这样你就可以像使用平板电脑一样使用可折叠手机了。
3. 可折叠iPhone可能会使用OLED屏幕,与iPhone X的屏幕类似。

在iPhone X系列的手机发布之前,所有苹果手机都使用LCD显示屏,而这些LCD显示屏依赖于背光,灵活性也不是很好。另一方面,OLED屏幕可以接受一定程度的弯曲力,因为像素是独立工作的,并且不会依赖光源,这会让手机看起来更薄。
从技术上来看,iPhone X的屏幕具有柔性,它的边缘弯曲,可以使手机边框变得更窄。而AMOLED是一种具有更快刷新速度的OLED屏幕。据报道,三星可能会将它应用到自己的产品当中,因此苹果也有可能会使用它。
4. 苹果可能会与LG合作,生产可折叠iPhone。

苹果之前曾与LG合作过,这家韩国公司的UltraFine 5K Display是苹果专卖店中为数不多的非苹果产品之一。在三星为苹果提供OLED屏幕之前,LG是苹果LCD屏幕的供应商。有传闻称,LG也正致力于开发可以扩展成平板电脑的可折叠手机。
一家韩国媒体报道称,苹果和LG正在共同开发这个新项目,但其未透露具体的消息来源。不过,这个消息很有可能是真的,因为目前只有两家制造商能够生产柔性的AMOLED屏幕,除了LG,另一家制造商是三星。
5. 可折叠iPhone看上去会非常时尚。

有些人认为,可折叠手机可能会比现在的智能手机更笨重,因为它是由两层屏幕和组件构成,而不是只有一层。还有人会担心,这种折痕会随着时间的推移而磨损,而且其耐用性也会影响产品的外观和使用感觉。
不过尽管如此,这终究是苹果的产品。无论苹果最终会如何设计这款可折叠iPhone,它都不太可能会在外观上妥协。
6. 我们至少还需要两年的时间才能买到可折叠iPhone。
Merrill Lynch分析师Wamsi Mohan在接受CNBC的采访中表示:“我们的调查显示,苹果正在与供应商合作,并且将于2020年推出可折叠手机,该款手机展开后可以充当平板电脑。”
苹果可能已经在与供应商谈判,但分析师们预测苹果的可折叠智能手机至少要在两年后才能推出,因为其需求可能会使生产遇到瓶颈。
三星本身也还没有完成它的原型,甚至可能只在很小的领域里进行测试,然后再向公众用户发布最终产品,所以我们可能还要等上几年的时间。但是不要失去希望。随着每年的大肆炒作,制造商面临的压力越来越大,可折叠智能手机成为现实的可能性也越来越大。
AD:进击?融合 猎云网&AI星球2018年度人工智能产业峰会 将于4月17号在深圳大中华希尔顿酒店举行。这里有最深度的思考,最有价值的投资建议,以及最酷的黑科技展示,精彩不容错过。

